HJ-Y-03
高精度
小体积
长寿命
模块化
产品介绍
阿童木十字万向节整体采用模块化设计,结构小巧,安装方便。不仅适用于连续单向旋转的场景,更适用于连续往复转动场景。
产品特点
1、高精度:采用高精度轴承结合过盈装配工艺,更久的寿命,且保证全生命周期实现零背隙。
2、结构简单:结构紧凑,外观简洁,更高的性价比。
3、螺栓链接:与主、从动部件采用螺栓连接方式,拆装更换更加快捷方便。
产品详细参数
| 型号 | 容许转速 | 容许动作角度 | 静态拉伸破坏负载 | 容许扭矩 | GD² | 重量 | 材质 | 表面处理 |
|---|---|---|---|---|---|---|---|---|
| HJ-Y-03 | 900r/min | 90° | 39000N | 102N.m | 1.5kg.cm² | 644g | 304 | 喷砂 |
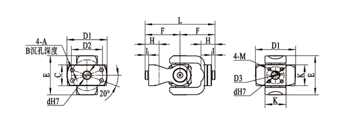
产品图纸
详情了解HJ-Y-03
阿童木十字万向节