HJ-S-01
高精度
小体积
长寿命
模块化
产品介绍
阿童木十字万向节整体采用模块化设计,结构小巧,安装方便。不仅适用于连续单向旋转的场景,更适用于连续往复转动场景。
产品特点
1、结构简单:采用十字轴承作为核心转动部件,结构简单,稳定性高。
2、大负载:同等外部尺寸下,可实现更粗转轴设计,实现更大负载。
3、销链接:与主、从动部件采用轴孔配合圆柱销固定的连接方式,传递扭矩更加可靠。
产品详细参数
| 型号 | 容许转速 | 容许动作角度 | 静态拉伸破坏负载 | 容许扭矩 | GD² | 重量 | 材质 | 表面处理 |
|---|---|---|---|---|---|---|---|---|
| HJ-S-01 | 1100r/min | 50° | 23000N | 66N.m | 0.35kg.cm² | 252g | 304 | 喷砂 |
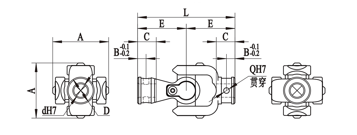
产品图纸
详情了解HJ-S-01
阿童木十字万向节
津公网安备 12011602300782